高压大流量液压回路在卸荷或换向时会出现压力冲击,并引起严重振动,消除这类问题的基本作法如下。
(1)预先泄放回路中的压力
当人们通过适当方式泄放封闭在液压缸中的压力能,再操纵主液压系统,可消除压力冲击,在此举一例说明。
液压回路如图2-5所示。液压缸上腔油路中有一个二位二通电磁阀,用于泄放压力.当工作完成以后,主换向阀换向之前,借助时间继电器使泄压阀得电接通,约3~5秒,当回路压力降为0或接近0时,再接通主换向阀,这时不会产生压力冲击。泄压阀的配管必须足够小(6毫米直径以内),否则会产生新的压力冲击。
图2-6是用换向阀和节流阀构成的泄压回路,电液换向阀1返回中位时,缸2上腔的压力通过节流阀3和单向阀4缓慢泄掉,故液压缸上行不需专门泄压。
(2)延长压力泄放时间
液控单向阀普遍应用于大型压力机保压与泄压(如图2-7所示)。液压系统在保压过程中,油的压缩、管道的膨胀和机器的弹性变形所储存的能量在泄压时突然释放;液压缸在保压终了返回过程中,可能上腔压力未泄完下腔压力已升高,使液压控单向阀的卸载阀和主阀芯同时顶开,引起液压缸上腔突然放油;二者合一,加剧了液压系统的冲击振动与噪声。


图2-5 用电磁阀卸压 图2-6 用换向阀和节流阀构成的泄压回路
在液压控单向阀的液控油路上设置一个单向节流阀(如图2-8所示),使液控口的通过流量得以控制,由此降低控制活塞的运动速度,延长泄压时间,可消除压力冲击。


图2-7液控单向阀用于压力机保压与泄压 图2-8 设置单向节流阀延长泄压时间
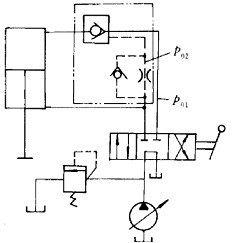
图2-9是防止泵卸荷时液压冲击的回路。溢流阀1的出口设有防冲击阀2,防止卸荷时产生冲击。防冲击阀2是由减压阀a和节流阀b构成的,电磁换向阀3出口接通油箱时,控制出口排出一定流量,使溢流阀缓慢打开泄压,避免了压力急剧下降引起的冲击。
对于比例溢流阀,可通过调节放大电路板上相应的电位器改变泄压时间。
联系方式: 联系人:王老师 邮箱:gkpx365@hotmail.com 联系电话:18999183549、0991-7799165、010-63866300 中国工业自动化培训网址:www.gkpx365.com 欢迎咨询企业内训,企业内训更具针对性,"对症下药"效果佳!